Granted by the United States Patent and Trademark Office (USPTO)

Tracking an ongoing construction by using fiducial markers

Tracking construction using fiducial markers

The method automates alignment of image data captured of a 3D physical structure with a computer model using fiducial markers and transformation functions. This process begins with obtaining images of the construction site and identifying fiducial markers, which are unique markers placed throughout the site. A transformation function is then generated to map the fiducial markers to corresponding points within the computer model. The system then obtains additional images and detects new fiducial markers, allowing it to align the new image data to the computer model. Finally, the system refines the alignment using 3D physical elements within the images, ensuring a precise match between the actual construction and the digital model.

Anton Treskunov and Robin Singh for Doxel, Inc
Nov 11, 2019 - May 31, 2022

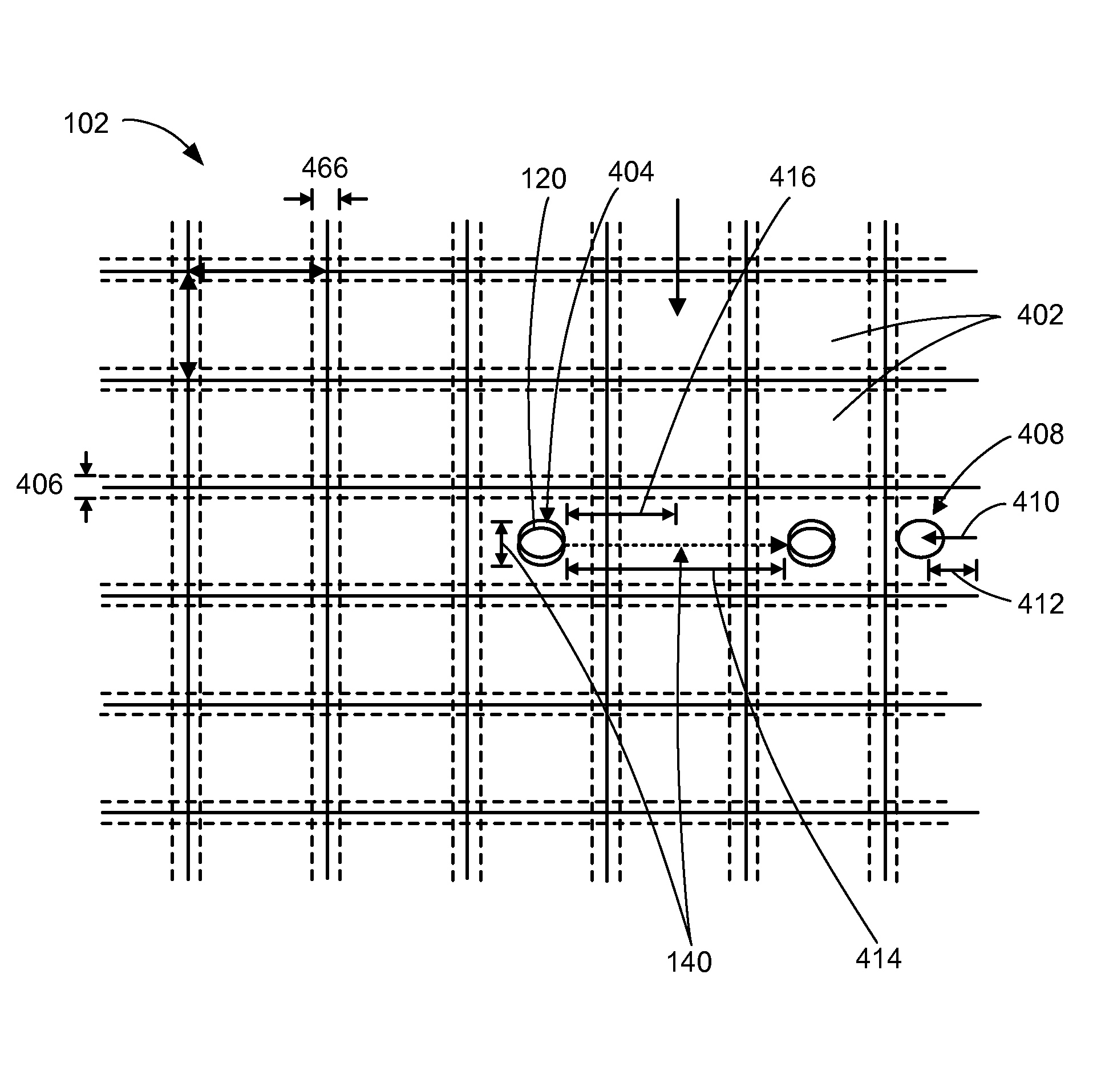
Electronic system with gesture calibration mechanism and method of operation thereof

Gesture calibration system

This patent describes an electronic system for improving gesture control in devices like televisions and tablets. It includes a display interface showing a calibration point, a sensor capturing gestures directed at the point from various positions, and a control unit displaying a position indicator based on these gestures. The system maps physical movements to the screen's coordinate system using sensors like cameras to track user movements, generating a transformation matrix for accurate input. It covers calibration methods for different screen types and includes recalibration processes for changed sensor positions.

Rongrong Wang and Anton Treskunov for Samsung Electronics Co., Ltd.

Dec 30, 2014 - Oct 22, 2019

>

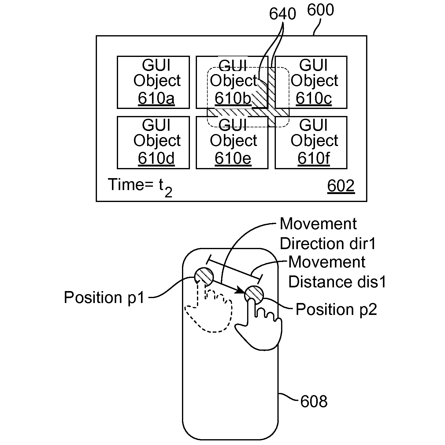
Display system with concurrent multi-mode control mechanism and method of operation thereof

Multi-mode control system

A display system that processes a single finger movement on a trackpad to control both directional and coordinate modes simultaneously. The system utilizes a multi-mode control mechanism for controlling multiple devices through a single user interface. By seamlessly switching between directional and coordinate modes, it allows users to navigate and interact with devices more intuitively and efficiently, offering greater flexibility and control over connected devices.

Anton Treskunov and Yuchang Hu for Samsung Electronics Co., Ltd.

Jun 10, 2013 - Jan 8, 2019

>

Visual feedback for user interface navigation on television system

Visual feedback for TV interface

The system detects movements of an interface navigation control input and correspondingly updates a visual effect on the display, including changes in its movement and shape. This approach provides dynamic visual feedback to users, helping them understand the direction and distance of their control inputs. The system employs various visual effects like glowing highlights, shading, and shape deformations, which are updated based on user actions such as touching, dragging, and releasing on a remote control unit, ultimately improving the user's navigation experience through the interface.

Anton Treskunov, Yuchang Hu, and Susan Choi for Samsung Electronics Co., Ltd.

Dec 16, 2013 - Nov 6, 2018

Electronic system with gesture processing mechanism and method of operation thereof

Gesture processing system

An electronic system with a gesture processing mechanism that identifies sensor readings for capturing gestures directed at a display interface using different range profiles. The system calculates a blended position indicator based on readings from multiple sensors, considering factors like sensor reliability, update frequency, and user location. It then communicates this by generating a cursor at the blended position. This approach enhances usability and provides more precise control, especially for rapid or unpredictable user gestures, by leveraging various sensors to create a more accurate and responsive interface.

Rongrong Wang and Anton Treskunov for Samsung Electronics Co., Ltd.

Mar 11, 2015 - Nov 7, 2017

>

Content delivery system with content sharing mechanism and method of operation thereof

Content sharing system

A content delivery system that allows for the sharing of content between a portable device and a public display, with features designed to enhance privacy and user experience. The system uses a combination of audience type detection, time thresholds, content type categorization, and privacy settings to regulate the display of content, ensuring that private information is only shared with authorized users. This is particularly useful for scenarios where a user wants to share certain content publicly, while keeping other information private, such as a user who wants to show a video on a public screen while keeping personal messages on their mobile device.

Yuchang Hu and Anton Treskunov for Samsung Electronics Co., Ltd.

May 14, 2012 - Mar 7, 2017

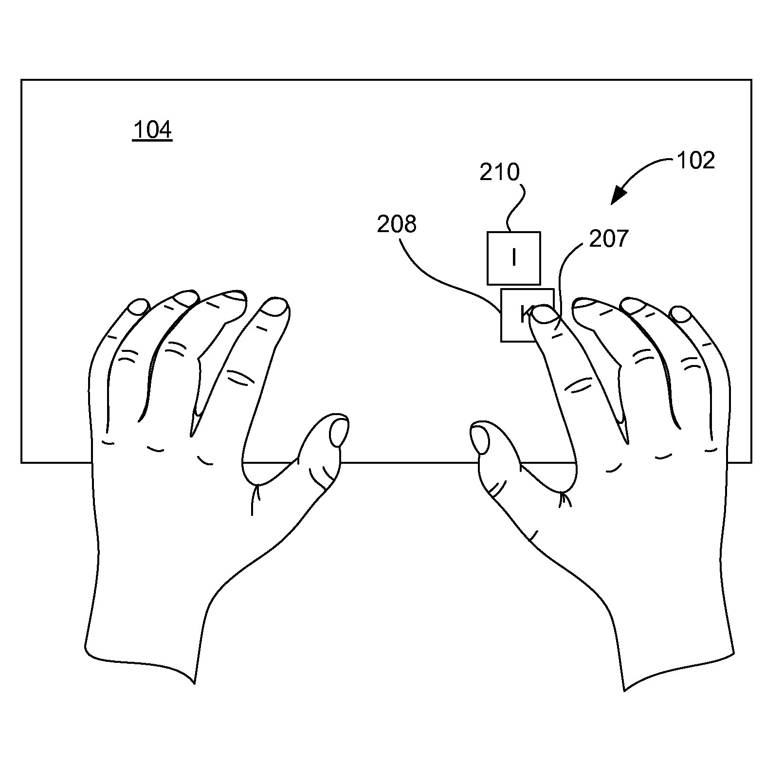
Dynamic text input using on and above surface sensing of hands and fingers

Dynamic text input system

A dynamic text input system that uses on-surface and above-surface sensing of hands and fingers to predict user input. The system displays partial images of a keyboard, showing only the most probable keys to be touched based on tracked finger movements. By adapting to user typing habits and adjusting the virtual keyboard layout accordingly, it minimizes screen space while enhancing typing efficiency. This approach creates a more personalized and intuitive typing experience, particularly suited for touch screen displays where space optimization and input prediction can significantly improve usability.

Anton Treskunov, Seung Wook Kim, and Stefan Marti for Samsung Electronics Co., Ltd.

Apr 6, 2011 - Aug 30, 2016

Control system with ridge interface and method of operation thereof

Ridge interface control system

A control system featuring a ridge interface configured to perform gestures and a control unit to interpret these gestures for controlling a device. The ridge interface is a physical protrusion on a first device, allowing users to input gestures without visual attention, which are then used to control a second device like a television or smartphone. The control unit interprets these gestures, mimicking their actions on the second device's display. Additionally, the system incorporates user authentication measures to prevent unauthorized access to content on the controlled device, enhancing security while maintaining a seamless user experience.

Yuchang Hu and Anton Treskunov for Samsung Electronics Co., Ltd.

Feb 14, 2013 - Apr 26, 2016