In 2012, Samsung introduced a Smart TV Remote to the market. Swiping a finger across the large touchpad area of the remote caused the TV Smart interface selection to move up/left/right or down to the next interface element. Unfortunately, the resulting production remote turned out to be pretty unresponsive, resulting in a poor market reception.
To improve it, we proposed a concept of a clickable touchpad surrounded by ridges. New ridge interactions and algorithms for translating finger movement into directional navigation commands were developed. Our design won an internal competition and went into production for 2013 SmartTV models.
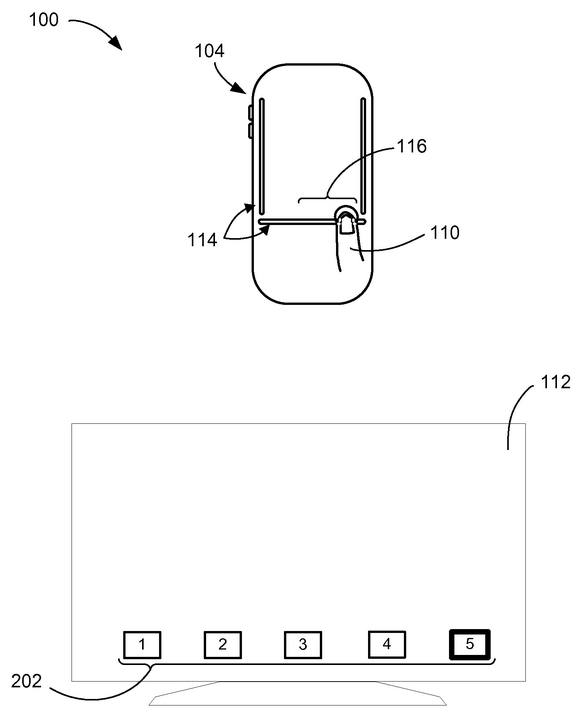
Ridge based design
The ridge interface design introduces a novel approach to device control through a physical protrusion from the surface of a display or touchpad. Ridges provide physical affordance, indicating edges of the touchpad. They can serve as one or several buttons, one can swipe across them, or they can be used as scroll controllers.
This tactile spatial reference provides haptic feedback, enabling new gestures such as swiping across, tracking along, or clicking on the ridge. A key advantage is the ability to control remote devices like TVs without looking at the control device itself, allowing for safer and more intuitive operation.
The design supports one-handed operation and control of multiple functions, typically featuring a horizontal base ridge with vertical left and right ridges. This configuration allows quick access to predetermined options at the ridge ends. The ridge interface can also incorporate security features through gesture authentication and offer tiered functionality based on contact area or pressure.
A significant benefit is the seamless control of both directional (e.g., up/down/left/right) and coordinate-based navigation. This versatility enhances efficiency and ease-of-use across various applications. The ridge interface is particularly valuable in potentially hazardous environments where visual attention needs to be focused elsewhere. This design represents an advancement in user interface technology, providing an ergonomic and customizable control mechanism that improves usability and enables new interaction paradigms for a wide range of electronic devices and systems. Its intuitive nature and flexibility make it a viable solution for enhancing user experiences in our increasingly digital world.
The image shows a detailed patent application figure illustrating how the ridges are integrated into the remote design. The top diagram depicts the remote's side view, highlighting the ridge placement. The bottom diagram shows how these ridges interact with the TV interface, demonstrating the innovative approach to user interaction.
September 23, 2013. CNET review of Samsung TV: "The company totally redesigned the touch pad this year, and it's a massive improvement. Despite a few flaws and the need for a learning curve, in many ways it's the best remote control included with any TV I've ever used".
Thumb-writing channel numbers
The handwriting recognition feature introduces an innovative approach to channel selection on TV remote controls. This software-based solution leverages the existing touchpad hardware to allow users to input channel numbers through familiar handwritten strokes. The system interprets these gestures and translates them into channel selections, eliminating the need for traditional number buttons. A key advantage of this approach is the preservation of the remote's streamlined design while enhancing its functionality. Users can input channel numbers quickly and intuitively without shifting their attention from the TV screen to the remote control, allowing for a more immersive viewing experience.
The design supports various handwriting styles and offers real-time feedback through on-screen display, enhancing user confidence and accuracy. This feature is particularly valuable for users who find on-screen number pads cumbersome or those who prefer the tactile experience of writing. Significant benefits include improved accessibility for users with varying levels of technological proficiency, reduced manufacturing costs by eliminating physical buttons, and the potential for future expansions such as text input for smart TV functions.
The development process involved extensive user testing with participants from diverse backgrounds, ensuring robustness and adaptability. The final implementation, ported from a JavaScript prototype to production-quality C++, represents an advancement in user interface technology for TV controls.
Haptic feedback study
Sample task: Participants used the touchpad remote to move the highlight (blue) to the target cell (green) as quickly and accurately as possible.
The research project explored the impact of haptic feedback on touchpad-based TV remote user experience. Two prototypes were developed: one smartphone-based and another using a modified Samsung 2013 TV remote, both incorporating Linear Resonant Actuator technology for tactile feedback.
Two user studies were conducted to evaluate preference and performance. The first used a smartphone prototype with 8 participants, while the main study involved 9 participants using the modified TV remote. Participants completed navigation tasks on a grid-based UI, simulating common TV interactions.
Results consistently showed strong user preference for haptic feedback, with 8 out of 9 participants in the main study preferring it. Users reported that haptic sensation provided reassurance and a sense of control. However, the study found no statistically significant differences in task performance between conditions with and without haptic feedback.
This research highlights haptic feedback's potential to enhance user satisfaction with touchpad-based TV remotes, even without measurable performance improvements. It also indicates the need for further investigation into the relationship between haptic feedback, user preference, and task performance in TV interface navigation.
Publications
- Anton Treskunov, Mike Darnell and Rongrong Wang (2015) Active Haptic Feedback for Touch Enabled TV Remote 17th International Conference on Multimodal Interaction (ICMI 2015), Seattle
Patents
-
Hu, Y. and Treskunov, A., inventors; Samsung Electronics, Inc, assignee. 2016, April 26. Control system with ridge interface and method of operation thereof United States Patent No. 9,323,334
-
Treskunov, A. and Hu, Y. and Choi, S., inventors; Samsung Electronics, Inc, assignee. 2018, November 6. Visual feedback for user interface navigation on television system United States Patent No. 10,120,540
-
Treskunov, A. and Hu, Y., inventors; Samsung Electronics, Inc, assignee. 2019, January 8. Display system with concurrent multi-mode control mechanism and method of operation thereof United States Patent No. 10,175,874